
Bereits im Dezember berichteten wir, dass Sony ein neues KI-Tool patentiert hat, das den Konsolen PlayStation 5, Xbox Series X/S und Nintendo jede Menge neue Zensuroptionen hinzufügen würde.
Mit dem Ziel, jedes Spiel kinderfreundlich zu machen (sofern Sie dies wünschen), würde das Zensurtool mithilfe von KI Audio- und Videoinhalte eines Spiels erkennen und darauf zugreifen und im Gegenzug eine Zensur durch stummgeschaltete oder versteckte Inhalte oder sogar Deepfake-Technologie ermöglichen.
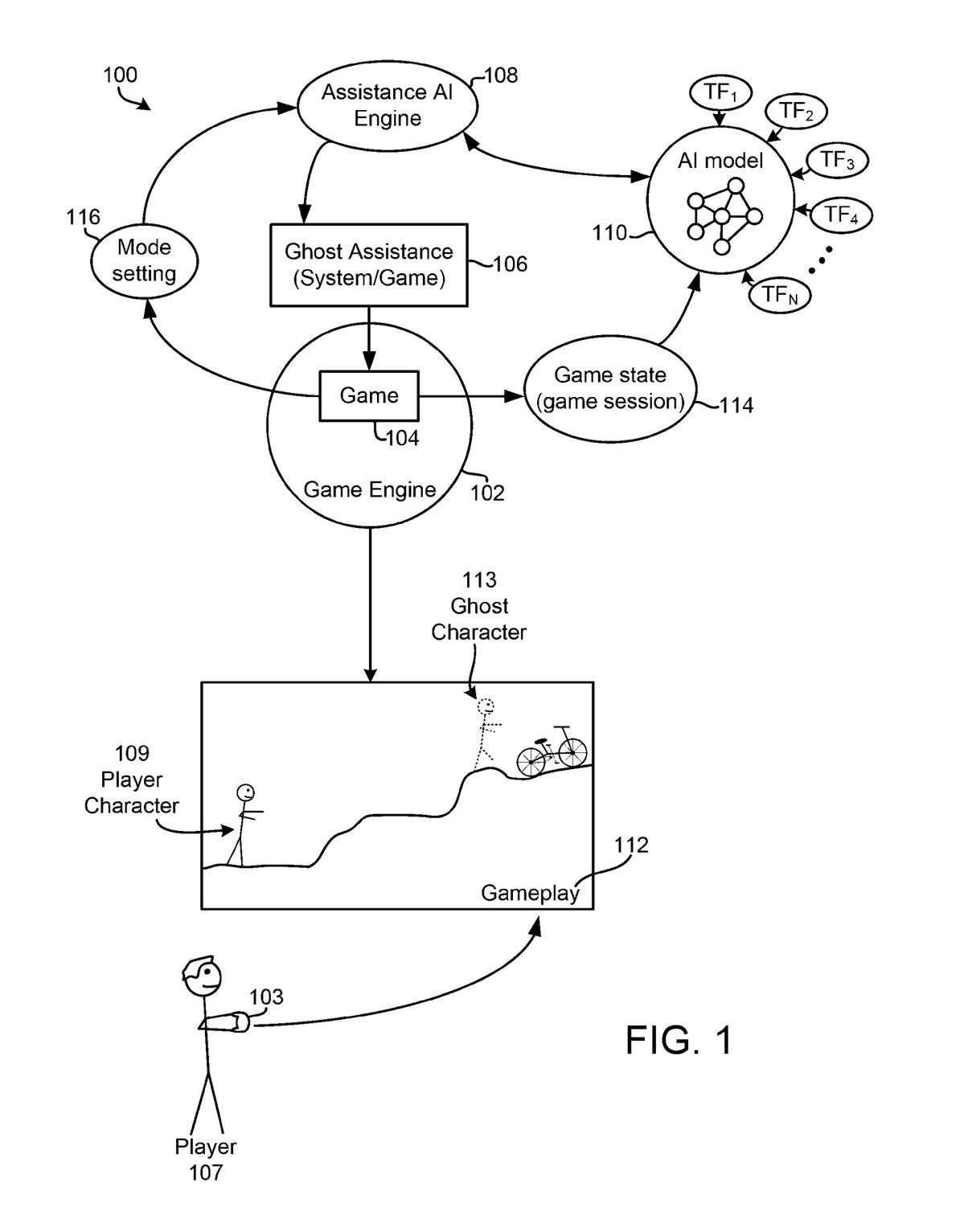
Nun sieht es so aus, als würde Sony an einem weiteren Patent arbeiten und wieder einmal KI nutzen, um die Zukunft des Gamings mitzugestalten oder in diesem Fall völlig zu verändern.
Haben Sie jemals ein Spiel gespielt und festgestellt, dass Sie auf einem bestimmten Niveau feststecken? Im schlimmsten Fall bitten Sie einen Freund, es für Sie zu spielen, oder Sie schauen sich vielleicht sogar Tutorials an, die Ihnen weiterhelfen.
Mit diesem brandneuen Patent können Spieler jedoch die Hilfe eines KI-Begleiters gewinnen.
In den Patentdokumenten mit dem Titel „Ghost Player“ können Spieler eine von der KI erzeugte „Geister“-Version ihres Charakters herbeirufen, die das Hindernis überwinden kann, vor dem sie stehen, indem sie einen kleinen Teil des Spiels oder den Rest eines Levels vollständig abschließt.
„Obwohl die Videospieltechnologie viele Fortschritte gemacht hat, benötigen einige Spieler Unterstützung“, heißt es in den Dokumenten.
„Spiele werden sehr kompliziert, sodass Spieler, die keine Experten sind, oft mit dem Spielen aufhören oder Schwierigkeiten haben, Aufgaben zu erledigen.

„Spieler können nach dem Spiel recherchieren oder sogar frühere Gameplays auf Internetseiten nachschlagen, aber dieser Prozess ist zeitaufwändig und oft nicht sehr relevant für Aufgaben und/oder Szenarien, mit denen der Spieler gerade konfrontiert wird.“
Die KI passt sich Ihren Vorlieben an
Um den Spielern Zeit zu sparen (obwohl ich sagen würde, dass das Ausprobieren Teil des Spaßes ist), möchte Sony für seine zukünftigen Titel einen Ghost Player aktivieren.
Der Ghost Player wäre in zwei Szenarien verfügbar: Guide-Modus oder Complete-Modus.
Im Guide-Modus können die Spieler die Hilfe ihres Spektralführers in Anspruch nehmen, der ihnen lediglich den Weg zeigt, sodass die Spieler ihn dann selbst ausprobieren können.
Im Komplettmodus erledigt der KI-Guide jedoch den gesamten Abschnitt für den Spieler.
Aus den Dokumenten geht hervor, dass dieses Patent als Weiterentwicklung des PlayStation 5-Spielhilfesystems entstanden ist, wobei letzteres den Spielern den Zugriff auf Anleitungen mithilfe von Bildern und Videos ermöglicht.
Dank der Fortschritte in der KI-Technologie ist dies nun der nächste große Schritt in der Unterstützung für Spieler, aber es bleibt abzuwarten, wie viele Benutzer einen Ghost Player implementieren würden, wenn die Idee auf den Markt kommt.
